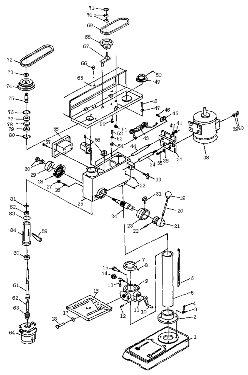
| 1 | Плита основания (U526-450-001) | U526-450-001 | - | |
| 6 | Рейка зубчатая (U526-450-006) | U526-450-006 | 1 228.69 | |
| 7 | Кольцо стойки (U526-450-007) | U526-450-007 | - | |
| 9 | Кронштейн стола (U526-450-009) | U526-450-009 | 1 787.79 | |
| 10 | Ручка подъема стола (U526-450-010) | U526-450-010 | 743.69 | |
| 12 | Ось (U526-450-012) | U526-450-012 | - | |
| 13 | Рычаг-фиксатор (U526-450-013) | U526-450-013 | - | |
| 14 | Червяк (U526-450-014) | U526-450-014 | 747.62 | |
| 15 | Шестерня (U526-450-015) | U526-450-015 | 612.51 | |
| 16 | Стол рабочий (U526-450-016) | U526-450-016 | 1 228.69 | |
| 18 | Болт M12х40 (UM03-000-040) | UM03-000-040 | - | |
| 19 | Ручка пластиковая рукоятки подачи (U526-450-019) | U526-450-019 | 102 | |
| 20 | Шток стальной рукоятки подачи (U526-450-020) | U526-450-020 | 102 | |
| 23 | Лимб (U526-450-023) | U526-450-023 | - | |
| 25 | Корпус (U526-450-025) | U526-450-025 | 2 642.77 | |
| 26 | Винт M8х16 специальный (U526-450-026) | U526-450-026 | - | |
| 28 | Пружина спиральная D40xh7 (U526-450-028) | U526-450-028 | 860.71 | |
| 29 | Крышка пружины (U526-450-029) | U526-450-029 | - | |
| 30 | Гайка М12х1.5 (U526-450-030) | U526-450-030 | - | |
| 31 | Винт-барашек (U526-450-031) | U526-450-031 | 138.71 | |
| 34 | Шток натяжителя (U526-450-034) | U526-450-034 | - | |
| 37 | Пластина натяжителя (U526-450-037) | U526-450-037 | - | |
| 38 | Электродвигатель в сборе (U526-450-038-C) | U526-450-038-C | 7 797.57 | |
| 43 | Шнур сетевой резин. 3x1,0мм 2м #F (U099-004-010) | U099-004-010 | 206.1 | |
| 45 | Толкатель пластиковый (U526-450-045) | U526-450-045 | - | |
| 49 | Шкив ведущий (U526-450-049) | U526-450-049 | 789.43 | |
| 50 | Винт M6х8 Н2.5 установочный (UM01-003-003) | UM01-003-003 | - | |
| 51 | Шайба резиновая (U526-450-051) | U526-450-051 | - | |
| 56 | Ввод кабельный в сборе (U526-450-051-C) | U526-450-051-C | - | |
| 58 | Выключатель электромагнитный (с грибком) KJD12 AC250V, 50Hz, 16(12)A, 5E4 (V000-003-332) | V000-003-332 | 2 144.84 | |
| 60 | Подшипник шариковый 6005-2RS (47х25х12) n/n (U009-600-5RS) | U009-600-5RS | 722.13 | |
| 61 | Шпиндель (U526-450-061) | U526-450-061 | 3 091.55 | |
| 62 | Дорн (Morse) MK2 для патрона (U526-450-062) | U526-450-062 | 926.93 | |
| 63 | Патрон с ключом 1,5-16мм "SAN OU" B16 (U526-450-063) | U526-450-063 | 1 450.19 | |
| 64 | Кожух защитный откидной (U526-450-064-C) | U526-450-064-C | 743.69 | |
| 65 | Кожух редуктора (U526-450-065) | U526-450-065 | - | |
| 67 | Кривошип (U526-450-067) | U526-450-067 | 990.82 | |
| 68 | Шкив промежуточный (U526-450-068) | U526-450-068 | 1 585.3 | |
| 69.72 | Ремень зубчатый XPZ511L (U526-450-072) | U526-450-072 | 734.27 | |
| 70 | Подшипник шариковый 6201-2RS (32х12х10) n/n (U009-620-1RS) | U009-620-1RS | 206.1 | |
| 73 | Гайка М20х1.5LH (U526-450-073) | U526-450-073 | - | |
| 74 | Шкив ведомый (U526-450-074) | U526-450-074 | - | |
| 75 | Вал конический ведомого шкива (U526-450-075) | U526-450-075 | 397.93 | |
| 77 | Подшипник шариковый 6004-2RS (42х20х12) LXB (U009-600-4RS) | U009-600-4RS | 206.1 | |
| 78 | Втулка дистанционная (U526-450-078) | U526-450-078 | - | |
| 83 | Кольцо резиновое (U526-450-083) | U526-450-083 | - | |
| 84 | Пиноль (U526-450-084) | U526-450-084 | 1 489.82 | |