ЗУБР 1300 л/мин, мотопомпа бензиновая для грязной воды (МПГ-1300)
Мощная мотопомпа для перекачивания сильнозагрязненной воды. Обеспечивает высоту напора до 27 м. Идеальна для тяжелых условий работы на стройке
Преимущества
- Возможность работы в сложных условиях стройки для перекачивания сильнозагрязненной воды с абразивными частицами до 30 мм
- Металлические патрубки для присоединения шлангов входят в комплект
- Простой доступ к насосной части благодаря оригинальному крепежу значительно упрощает обслуживание мотопомпы
- Высокая надежность рабочего колеса и улиты насоса, изготовленных из чугуна с добавлением сфероидального графита
- Возможность работы на площадках с большим взаимным перепадом уровней воды
- Усиленная рама делает оборудование пригодным к использованию в жестких условиях стройки
- Допускается перекачка сильнозагрязненной воды с включением частиц до 30 мм
Использование
Для откачки (перекачки) воды из водоемов, подвалов, котлованов, емкостей и т.п. Также может использоваться в качестве нагнетающего агрегата для подачи воды при организации полива, заправки емкостей и т.п.
| Тип двигателя | 4-х тактный |
| Масса изделия, кг | 34 |
| Масса в упаковке, кг | 36 |
| Гарантия | 60 |
| Производительность, л/мин | 1300 |
| Емкость топливного бака, л | 3.6 |
| Стартер | ручной |
| Мощность, кВт | 5.15 |
| Тип мотопомпы | бензиновая |
| Мощность, л.с. | 7 |
| Высота подъема, м | 27 |
| Глубина всасывания, м | 8 |
| Диаметр входного отверстия, мм/дюйм | 80 / 3 |
| Диаметр выходного отверстия, мм/дюйм | 80 / 3 |
| Допустимый размер твердых частиц, мм | 30 |
| Норма расхода топлива, л/маш.-час | 2.3 |
| Рабочий объем двигателя, см³ | 212 |
| Тип упаковки | коробка картонная |
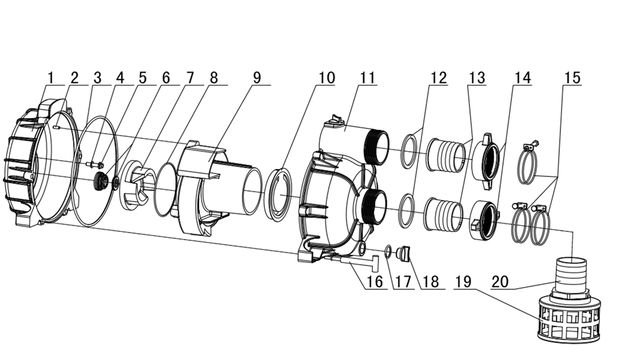
Схема сборки и запчасти ЗУБР 1300 л/мин, мотопомпа бензиновая для грязной воды (МПГ-1300)
| № | Наименование | Артикул | Цена | |
|---|---|---|---|---|
| 1.01 | Крышка корпуса насоса | N000-038-325 | 4 163.55 | |
| 1.02 | Штифт | N000-038-326 | - | |
| 1.03 | Прокладка | N000-038-327 | 102 | |
| 1.06 | Сальник | N000-038-328 | 597.72 | |
| 1.07 | Колесо рабочее | N000-038-329 | 1 405.56 | |
| 1.08 | Прокладка | N000-038-330 | 102 | |
| 1.09 | Корпус рабочего колеса | N000-038-331 | 1 285.2 | |
| 1.10 | Прокладка | N000-038-332 | 132.6 | |
| 1.11 | Корпус насоса | N000-038-333 | 5 081.64 | |
| 1.12 | Кольцо уплотнительное | N000-038-334 | 102 | |
| 1.13 | Патрубок шланга 3" | N000-038-335 | - | |
| 1.14 | Гайка фланца 3" | N000-038-397 | - | |
| 1.15 | Хомут 3" | N000-038-336 | - | |
| 1.16 | Винт Т-образный | N000-038-400 | - | |
| 1.17 | Прокладка | N000-038-337 | - | |
| 1.18 | Пробка сливная-заливная | N000-038-338 | - | |
| 1.19 | Клапан обратный | N000-038-339 | - | |
| 1.20 | Патрубок фильтра | N000-038-340 | - | |
| 1.21 | Рама | N000-045-782 | - | |
| 2.12 | Стартер в сборе | N000-038-297 | 575.28 | |
| 2.14 | Выключатель зажигания | V000-000-110 | 223.47 | |
| 2.19 | Маховик | N000-038-341 | - | |
| 2.35 | Коленвал | N000-038-342 | 717.9 | |
| 2.36 | Поршень D88 | N000-038-343 | - | |
| 2.37 | Поршневой палец | N000-038-344 | - | |
| 2.39 | Кольца поршневые (набор) | N000-038-345 | - | |
| 2.45 | Распредвал в сборе | N000-038-306 | - | |
| 2.47 | Клапан впускной | U592-250-131 | 510.8 | |
| 2.48 | Клапан выпускной | U592-250-132 | 638.5 | |
| 2.49 | Прокладка головки цилиндра | N000-029-877 | 378.42 | |
| 2.52 | Фильтр воздушный в сборе | N000-038-307 | 487.56 | |
| 2.56 | Карбюратор | N000-038-308 | 964.92 | |
| 2.61 | Головка блока цилиндров | U592-350-094 | 2 394.36 | |
| 2.67 | Свеча зажигания F7TC | N000-033-063 | 298.34 | |
| 2.71 | Пружина клапана | U592-250-137 | 159.63 | |
| 2.81 | Крышка топливного бака | N000-001-814 | 207.52 | |
| 2.82 | Фильтр топливный | N000-038-346 | - | |






